现代社会的飞速发展,随着人们的生活水平的提高和生活节奏的加快,出现了许多方便携带饮用的瓶装、罐装和袋装型食品及饮料。在制药企业中,也同样有大量的瓶装和袋装的液体药品。这些生产场合的液体饮料和液体药品都需要无菌灌装系统,要求灌装装置系统能够快速、安全、准确地完成灌装。相比较以前传统的固定容积式的灌装系统,该系统具有更稳定的安全性,包装内容液体的卫生状况大幅改善,无菌灌装系统的要求使用于灌装定量控制的方式发生了变化,一些专业灌装用途流量计进入灌装应用{**}域,这种动态在线的测量和控制方式带来了新的挑战,在线直接测量和控制流量的定量控制方法需要专业的流量计来满足灌装的特殊需求,使用中不仅需要考虑流量计本身的安装和使用,还要综合考虑流量计集成在系统中时和其他部分的相互影响。文章详细介绍了灌装用电磁流量计的特点以及使用电磁流量计的灌装定量系统的灌装{**}度的影响因素。
1 无菌灌装系统介绍
1.1 无菌灌装系统的要求
(1)易于清洗和消毒杀菌;
(2)高产量、周期短;
(3)高{**}度和高重复性;
(4)低消耗和损耗;
(5)快速处理不同产品灌装和不同批量灌装;
(6)对产品和产品质量因素有较高的透明度;
(7)不用维护或者易于维修。
1.2 无菌灌装的设计特点
(1)机器的简单化;(2)表面光滑、无凹凸、无死角、气密密封性好;(3)排水流畅,无积水;(4)闭密性要好,防止外界微生物深入;(5)选择适当材料,耐高温、耐化学腐蚀;(6)自动化的CIP(原位清洗)/SIP(原位杀菌);(7)关键设备的定期养护;(8)划分生产区域,无菌和非无菌,生产区域物料、人等隔离和管制。
1.3 灌装定量控制
在各个分系统中,灌装的定量控制系统是较核心的系统之一,整个灌装机的灌装速度和{**}度往往由该系统的性能所决定。灌装定量控制系统关键部件包括流量计、控制器、阀门(如图1)。灌装量的测量由流量计完成,它能快速、准确地计量灌装头的连接管道中的流体流量,并把信号上传到控制器,由控制器根据设定的定量,控制灌装阀门的启/停,以达到准确灌装。

图1 灌装系统关键部件示意图
1.4 无菌灌装对流量计的要求
1.4.1 快速反应能力和准确的测量能力。每次灌装通常持续2~5秒,这要求流量计的测量速度非常快,测量间隔短,只有这样才能跟得上流量的变化曲线。
1.4.2 卫生型设计和连接。特殊的材质和连接方式。
1.4.3 CIP和SIP的要求。原位清洗和杀菌涉及到酸碱等腐蚀性介质,如果采用高温蒸汽杀菌,则过程中会出现约140℃的温度。
1.4.4 稳定性和重复性好。

2 .电磁流量计简介
流量计是某知名仪表公司自行研发的专业灌装电磁流量计,能保证很高的准确性和重复性,紧凑的外形结构确保了在灌装生产线的各个单元能安装得很近。有快速准确的测量能力,测量周期短,测量频率高。
流量计的测量原理:根据法拉第电磁感应定律,因磁通量变化产生感应电动势,闭合电路的一部分导体在磁场中做切割磁感线运动,导体中就会产生感应电流。在电磁测量原理中,流动的介质就相当于运动的导体,感应电压和介质的流速成正比,并且通过两个电极直接送到放大器。流体的容积通过管道的截面积可以算出。

图2 电磁流量计原理示意图
Ue=B×L×v
Q=A×v
Q=A×v=A×Ue/B×L
式中:Ue——感应电压
B——磁场强度
L——磁极间距
v——流体速度
Q——流体流量
A——管道截面积
I——电流强度
从以上公式可以看出,当磁场强度和磁极间距一定时,流体流量和感应电压成正比。
3 Dosimag流量计特性
3.1 特点
(1)快速测量能力,每秒钟完成80次以上的准确测量;(2)流量达1.66L/s;(3)流体温度可达130℃,半小时内耐受150℃;(4)工作压力可达16bar;(5)可进行在线原位清洗(CIP)和在线原位杀菌(SIP);(6)特殊应用内衬:PFA(可溶性聚四氟乙烯);(7)不锈钢外壳。
3.2 应用{**}域
可用于导电率大于等于5μs/cm的液体测量,如食品行业、化妆品行业、制药行业、化学药品行业
3.3 食品/卫生行业相关认证
3A认证/EHEDG测试/符合FDA要求。
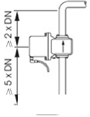
4 安装方式、使用条件及注意事项
4.1 安装条件
(1)进口管道长度大于5倍DN,如图3;(2)出口管道长度大于2倍DN,如图3;(3)传感器和变送器必须接地;(4)传感器在管道中居中安装。
4.2 安装方式及位置
灌装流量计安装调试简单;对管道的震动不是很敏感。灌装流量计只有在管道完全满地条件下才能正确测量,基于这个原因,建议在批量生产前要做灌装试验。

图3 安装直管段示意图
4.2.1 安装方式一般来讲有旋转灌装模式和线形灌装模式,如图4和图5所示:

图4 旋转灌装模式

图5 线形灌装模式
4.2.2 安装位置。安装在阀门附近,灌装流量计不能安装在控制阀的下游(图6),如果装在控制阀的下游,在一个灌装周期结束后,传感器的测量管道完全排空,这样会严重影响下个周期的测量。

图6 流量计和阀门的安装位置示意图(1代表灌装流量计)
4.2.3 安装方向。合理的安装方向(图7),可以避{**}空气在测量管道中的堆积和存放。

图7 安装示意图(1代表灌装流量计)
4.2.4 安装注意事项。
(1)在过热的条件中使用时(比如在线清洗和在线消毒),强烈要求变送器装在下面,这样可以降低变送器部分过热的风险,如图8。
(2)在震动非常厉害的条件下,要确保管道和传感器的安全。

图8 避{**}变送器过热的安装方向示意图
4.3 影响灌装的一般因素
4.3.1 流量计的计量{**}度:该项指标受流速、灌装持续时间、测量流体情况等影响。
表1 灌装时间和重复性的关系

4.3.2 灌装系统中可动部件的动作速度和机械重复性:主要是切断阀的开启和关闭操作的速度和一致性。
4.3.3 灌装机械中流体的状态稳定性,包括温度变化(影响密度)、背压是否稳定(影响流速)、液位高低。
4.3.4 控制系统的工作方式和控制程序设计是否{**}化。
5 灌装流量计的实际应用问题分析
下面以灌装流量计在国内某企业使用过程中出现重复性差的问题为例来分析。
5.1 现场灌装的基本情况
直线式灌装模式,灌装机上安装有20台Dosimag5BH12/15,分别对应于20根灌装头,如图5所示的线性安装方式;灌装液体来自于设备上方的储罐,通过下流管道进入两路分流支总管(DN40),每分流支总管下带10个DN15的灌装管;流量计后方,灌装口上方100mm处安装有气动切断阀(结构较特殊,两级行程,切断阀杆位于管道内流体中);每次灌装约220mL,但是误差不稳定,从偏差1~2mL到5~6mL。
5.2 该应用中影响{**}度的原因
电磁流量计属于速度式流量仪表,它通过测量管道流速来计算体积流量,流速的突变会一定程度增大测量误差。本应用中,影响{**}度的原因是管道内的液体流速,通过试验分析液体的流速受以下三个方面的影响。
5.2.1 工艺影响。管道的选型和排设对液体的流速会有影响。如本应用中,如果下流管道进入两路分流支总管远小于DN40,那么流过各灌装管内的液体流速会有比较大的偏差,选用合适的总支管和正确的排设,可以改善灌装管内液体流速的不平衡性。
5.2.2 其他元件的影响。在无菌灌装系统中,一般用到四种阀,即定量阀(加料阀)、导向阀、压力控制阀、控制阀。
在灌装系统中用到快速切断阀(定量阀)来控制灌装的启停。快速切断阀的控制原理:当电磁阀接收到PLC的输出信号(由PLC采集灌装流量计的脉冲信号后处理的输出信号)时开始动作,通过执行机构带动阀杆和阀芯向上运动,阀芯和阀座分开,流体通过阀座进入灌装管道,开始灌装,当电磁阀接收到PLC输出信号关闭阀门时,阀杆向下运动,带动阀芯向下运动,使阀芯和阀座接触,从而切断流体达到结束灌装。本应用中控制阀的阀杆在管道中,流体从上向下流经整个阀体,阀杆的动作行程分两级,对应于小流量和较大流量。
开启时,阀杆向上抬起,逆流而上,对于管道中的流体造成逆冲,瞬间减小管道流速;相对速度越大,影响越大;闭合时,阀杆向下压下,对于管道中的流体产生加速,瞬间增大管道流速(图9)。
本应用中的灌装控制阀有两级行程,在从小流量变换为大流量时,阀杆的二次动作使管道内的流速显著减小,增大了测量误差(图9)。灌装控制阀的结构和工作方式,影响了管道中的液体流速,是误差的主要形成因素来源。但试验证明,可以通过调整阀杆的行程来改善。

图9 未加处理的阀门二行程的流量曲线。
5.2.3 液位控制及背压控制。液位和背压影响灌装过程中的流速,流速的波动会造成灌装量的波动。该波动的影响主要体现在系统发出阀门切断指令到阀门完全关闭的延迟时间段中。
本灌装系统中的上部罐体尺寸较小,约60L。如果液位控制在80%,则上部的气体空间为12L,下部液体空间为48L;若每次灌装250mL,2s内完成,则20个瓶需要5000mL,即5L,对液位的影响为8%,对气压的影响为5L/12L=40%;由于灌装有间歇性停顿,对于液位和背压的自动控制来说,过程为非连续稳定状态,控制的难度比一般过程要大(压力变送器上看到有压力值的变化,实际上可能有1~2秒钟以内的阻尼,实际过程中的快速波动可能更大)。
灌装头由于安装灌装控制阀的需要,在灌装控制阀及下部的灌装头共约400mm。
部分为DN25的管道,灌装流量计及流量计之上的管道内径为15mm/16mm。二者管道截面积相差近2倍。在稳定流量下,则这两部分的流速相差近2倍,表现为流量计处快,下部管道内慢。考虑到阀杆的影响,则流速相差约1倍。
灌装头的较终出口部分为10~14mm的可更换缩口。通过缩口,可以产生背压,一般缩口内置蜂窝状虹吸管,保证灌装前后的管道满管。从测试的流量波形上看,10mm的灌装头产生适当的阻尼效果,流量曲线较稳定。
5.3 解决方案
方案1:采用灌装阀一级控制,即采用小流量行程的单次开启和闭合。
测试结果:流量平稳度增加,灌装的误差显著减小。
方案2:对灌装阀的第二次行程变化进行控制,通过减缓阀的气动排气,降低阀杆第二次上台的速度,见图10:

图10 增加排气过滤阀,减缓小流量转大流量时的阀杆上抬速度后的流量曲线
方案3:适当降低液位,如控制在50%或更低,以减小批次灌装对背压的影响,同时有助于提高背压稳定性。
灌装流量计作为测量的关键元件,它是保证罐装{**}度实现的要素之一,整个罐装系统的设计在满足无菌灌装的工艺要求和生产效率要求的前提下,必须考虑如何保证罐装流量计稳定、可靠地工作以及如何选用合适的部件,如控制阀,并{**}化控制方式,将各种可能的干扰因素降到较低,以实现系统误差较小。



